



赛摩云联智能计量设备检测诊断系统提供了一种有效的解决方案。该系统基于边缘计算、大数据技术和云计算技术,对称重计量设备的数据进行采集、清洗和存储,并通过自主研发的大数据模型能力精准监测设备的称重计量数据。当称重计量数据发生异常时,系统能够及时进行报警,解决了计量行业称重设备计量不准并且难以发现的问题,成为行业的标杆。

该平台具有以下核心功能:
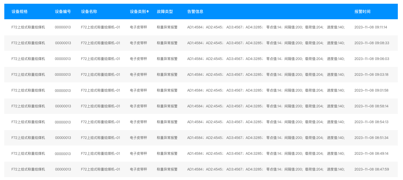
称重异常告警:皮带秤在使用过程出现秤架卡料、传感器异常等多种情况下,皮带秤的零点和称重精度发生了变化,还不容易发现。赛摩智能开发大数据称重分析模型,通过分析模型高效运算,在设备称重时实时监测皮带秤的状态,自动精准检测称重异常信息,并提供告警日志(AD值、零点值、间隔值、载荷值、速度值)供工作人员进行参考决策,告警消息支持推送系统消息、微信、手机短信。

移动端监控:用户通过电脑和APP,通过移动端实时实现对计量设备远程监控。功能如下:显示功能、参数设置、操作功能、故障监测、自动控制、历史数据等。
故障远程诊断:通过平台可以便捷地实现计量设备的就地或(远程)监测诊断功能,帮助维修工程师在线查看设备实时数据,进行设备故障诊断;经客户授权后,设备售后服务工程师可查看设备的实时或历史数据和报警,能够根据故障给出相应的解决方案,进行故障处理。

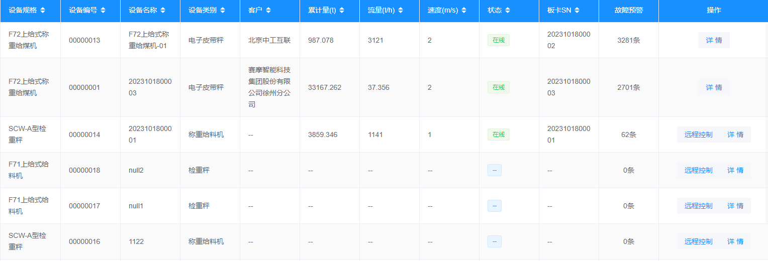
集中运行管理:实现称重设备的集中运行管理,集中显示各台设备状态、累计量流量等主要运行参数、告警信息等,实现多台设备、多种设备的集中运行管理功能。

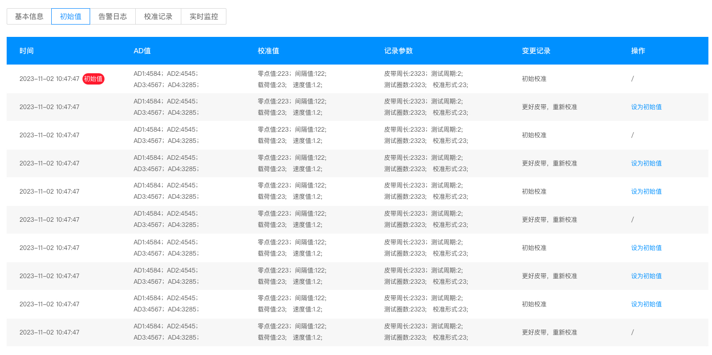
设备台账:设备台账记录设备全生命周期管理,从设备登记、安装日期、设备技术参数、称重标准值、校准记录、告警日志、监控趋势等信息。

统计报表:统计报表提供班组排班计划表、班组工作累计称重量、班组设备每次运行承重量、设备每小时累计称重量、设备每次运行累计称重量。

赛摩云联智能计量设备监测诊断系统通过集中监控和管理称重设备,解决了计量不准无法及时发现和难以集中监控和管理的问题。它通过实时称重数据监测和通过大数据分析模型对称重计量数据进行分析,实现了皮带秤计量不准时系统及时自动报警。该平台还提供了远程故障远程诊断功能,提高了设备的运行效率和可靠性。此外,该平台还具有完善的设备台账和统计报表功能,方便了物料的管理和统计。赛摩云联智能计量设备监测诊断系统为工业生产中的物料的可靠计量提供了全面而高效的解决方案。

赛摩登录网页版试用 扫描下载APP